GB/ T 69 - 2016 开槽半沉头螺钉
工艺:
详细信息
GB/ T 69 - 2016 开槽半沉头螺钉
材质、等级:4.8级、8.8级、10.9级、12.9级、304、316等。
表面处理:环保蓝白锌,环保彩锌,环保达克罗,锌镍合金,镀镍,环保黑锌等。
盐雾时间:可做48H、72H、120H、240H等。
可做十字一字复合槽、防盗槽型、锁紧螺纹、涂胶螺钉等,可根据客户要求进行定制。
电话咨询:400-086-0001 025-86183701-8026
徐小姐
邮件咨询:dm8026@18luosi.com
QQ咨询:2850588428

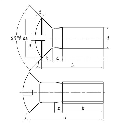
| 公称直径 | M1.6 | M2 | M2.5 | M3 | (M3.5) | M4 | M5 | M6 | M8 | M10 | |
| P | 螺距 | 0.35 | 0.4 | 0.45 | 0.5 | 0.6 | 0.7 | 0.8 | 1 | 1.25 | 1.5 |
| b | 最小值 | 25 | 25 | 25 | 25 | 38 | 38 | 38 | 38 | 38 | 38 |
| dk | 最大值 | 3 | 3.8 | 4.7 | 5.5 | 7.3 | 8.4 | 9.3 | 11.3 | 15.8 | 18.3 |
| 最小值 | 2.7 | 3.5 | 4.4 | 5.2 | 6.94 | 8.04 | 8.94 | 10.87 | 15.37 | 17.78 | |
| k | 最大值=公称 | 1 | 1.2 | 1.5 | 1.65 | 2.35 | 2.7 | 2.7 | 3.3 | 4.65 | 5 |
| n | 公称 | 0.4 | 0.5 | 0.6 | 0.8 | 1 | 1.2 | 1.2 | 1.6 | 2 | 2.5 |
| 最大值 | 0.6 | 0.7 | 0.8 | 1 | 1.2 | 1.51 | 1.51 | 1.91 | 2.31 | 2.81 | |
| 最小值 | 0.46 | 0.56 | 0.66 | 0.86 | 1.06 | 1.26 | 1.26 | 1.66 | 2.06 | 2.56 | |
| t | 最大值 | 0.8 | 1 | 1.2 | 1.45 | 1.7 | 1.9 | 2.4 | 2.8 | 3.7 | 4.4 |
| 最小值 | 0.64 | 0.8 | 1 | 1.2 | 1.4 | 1.6 | 2 | 2.4 | 3.2 | 3.8 | |
| ①,尽可能不采用括号内规格 | |||||||||||
| ②,M1.6~M3.0的螺钉L值≤30mm时,应制出全螺纹(b=L-k-a); | |||||||||||
| ③,M3.5~M10的螺钉L值≤45mm时,应制出全螺纹(b=L-k-a); | |||||||||||