GB/ T 68 - 2016 开槽沉头螺钉

工艺:

详细信息

GB/ T 68 - 2016 开槽沉头螺钉

 

材质、等级:4.8级、8.8级、10.9级、12.9级、304、316等。

 

表面处理:环保蓝白锌,环保彩锌,环保达克罗,锌镍合金,镀镍,环保黑锌等。

 

盐雾时间:可做48H、72H、120H、240H等。

 

可做十字一字复合槽、防盗槽型、锁紧螺纹、涂胶螺钉等,可根据客户要求进行定制。

 

电话咨询:400-086-0001 025-86183701-8026

 

徐小姐

 

邮件咨询:dm8026@18luosi.com

 

QQ咨询:2850588428 

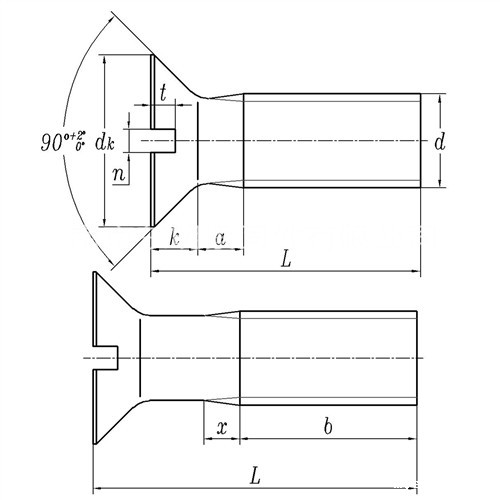
公称直径 M1.6 M2 M2.5 M3 (M3.5) M4 M5 M6 M8 M10
P 螺距 0.35 0.4 0.45 0.5 0.6 0.7 0.8 1 1.25 1.5
b 最小值 25 25 25 25 38 38 38 38 38 38
dk 最大值=公称 3 3.8 4.7 5.5 7.3 8.4 9.3 11.3 15.8 18.3
最小值 2.7 3.5 4.4 5.2 6.94 8.04 8.94 10.87 15.37 17.78
k 最大值=公称 1 1.2 1.5 1.65 2.35 2.7 2.7 3.3 4.65 5
n 公称 0.4 0.5 0.6 0.8 1 1.2 1.2 1.6 2 2.5
最大值 0.6 0.7 0.8 1 1.2 1.51 1.51 1.91 2.31 2.81
最小值 0.46 0.56 0.66 0.86 1.06 1.26 1.26 1.66 2.06 2.56
t 最大值 0.5 0.6 0.75 0.85 1.2 1.3 1.4 1.6 2.3 2.6
最小值 0.32 0.4 0.5 0.6 0.9 1 1.1 1.2 1.8 2
①,尽可能不采用括号内规格
②,M1.6~M3.0的螺钉L值≤30mm时,应制出全螺纹(b=L-k-a);
③,M3.5~M10的螺钉L值≤45mm时,应制出全螺纹(b=L-k-a);