ISO 10663 - 2012 2型细牙六角法兰螺母
工艺:
详细信息
ISO 10663 - 2012 2型细牙六角法兰螺母
材质、等级:4级、8级、10级、12级、A2-70、A4-70 、A4-80等
表面处理:镀普通蓝白锌、普通彩锌、热镀锌、环保彩锌、环保蓝白锌、环保达克罗等
盐雾时间:可做72H、96H、120H、300H、360H、720H等高盐雾处理
电话咨询:400-086-0001 025-86183701-8026
徐小姐
邮件咨询:dm8026@18luosi.com
QQ咨询:2850588428

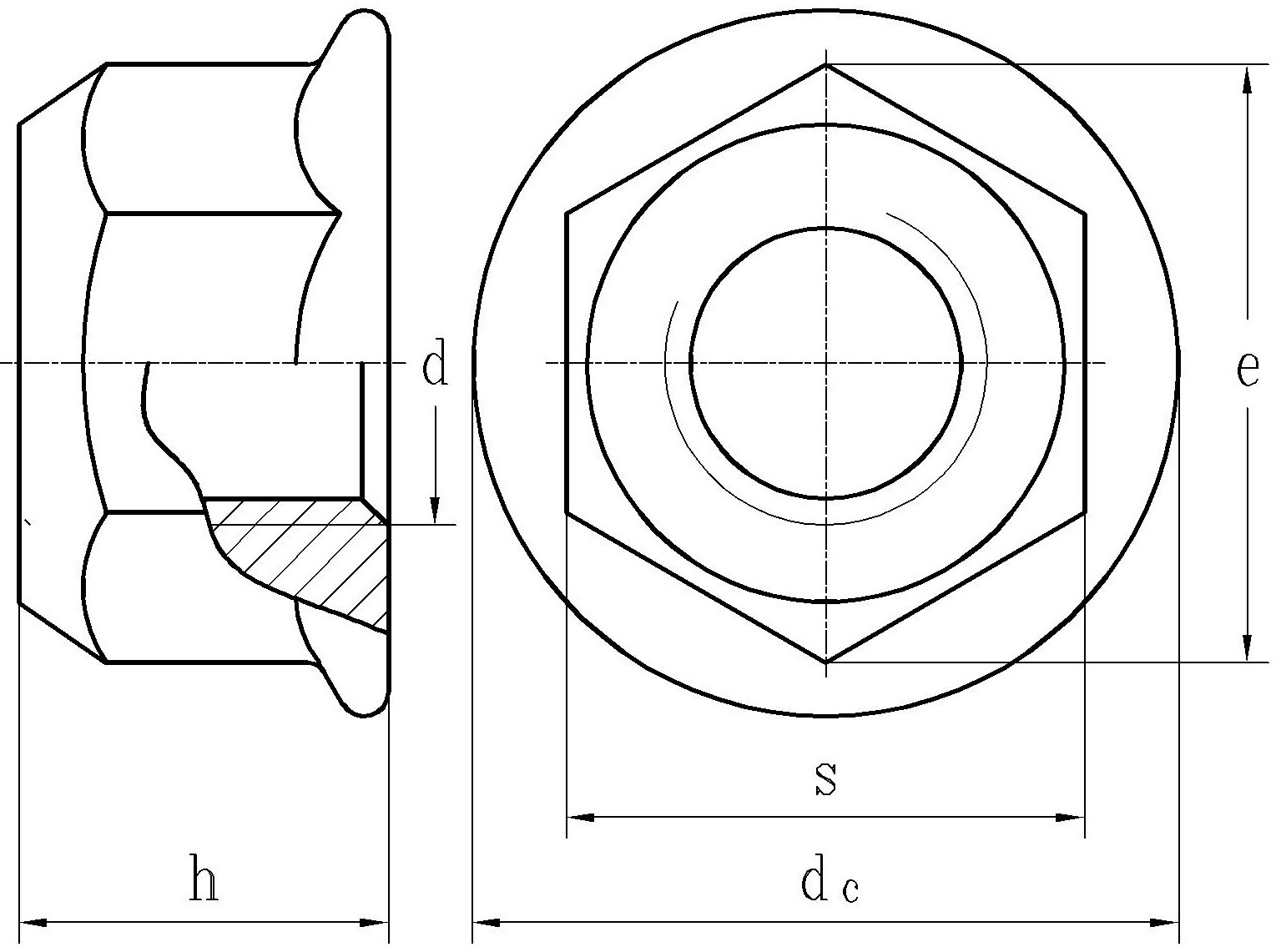
| 公称直径 | M8 | M10 | M12 | (M14) | M16 | M20 | |
| P | 螺距(细牙) | 1 | 1.25 | 1.5 | 1.5 | 1.5 | 1.5 |
| 螺距(极细牙) | / | 1 | 1.25 | / | / | / | |
| dc | 最大值 | 17.9 | 21.8 | 26 | 29.9 | 34.5 | 42.8 |
| k | 最大值 | 8 | 10 | 12 | 14 | 16 | 20 |
| 最小值 | 7.64 | 9.64 | 11.57 | 13.3 | 15.3 | 18.7 | |
| s | 最大值 | 13 | 15 | 18 | 21 | 24 | 30 |
| 最小值 | 12.73 | 14.73 | 17.73 | 20.67 | 23.67 | 29.16 | |